Get Images Library Photos and Pictures. Tesla Institute School Of Electrical Engineering Electronics Automation And Computer Technology 3 Phase Motor Control Circuit Forward Reverse Madcomics Single Phase Forward And Reverse Control Circuit Three Phase Motor Connection Star Delta Y D Reverse Forward With Timer Power Control Diagram Electrical Technology Motor Control Circuit Wiring Instrumentation Tools
. Diagram Circuit Diagram 3 Phase Motor Forward Reverse Full Version Hd Quality Forward Reverse Tendiagrams Promotionloisirs Fr Electrical Wiring Diagram Forward Reverse Motor Control And Power Circuit Using Mitsubishi Plc Technovation Technological Innovation And Advanced Industrial Control Technologies Forward Reverse Control
Rev For Three Phase Motor Connection Power And Control Diagrams
Rev For Three Phase Motor Connection Power And Control Diagrams
Motor Control Circuit Wiring Instrumentation Tools
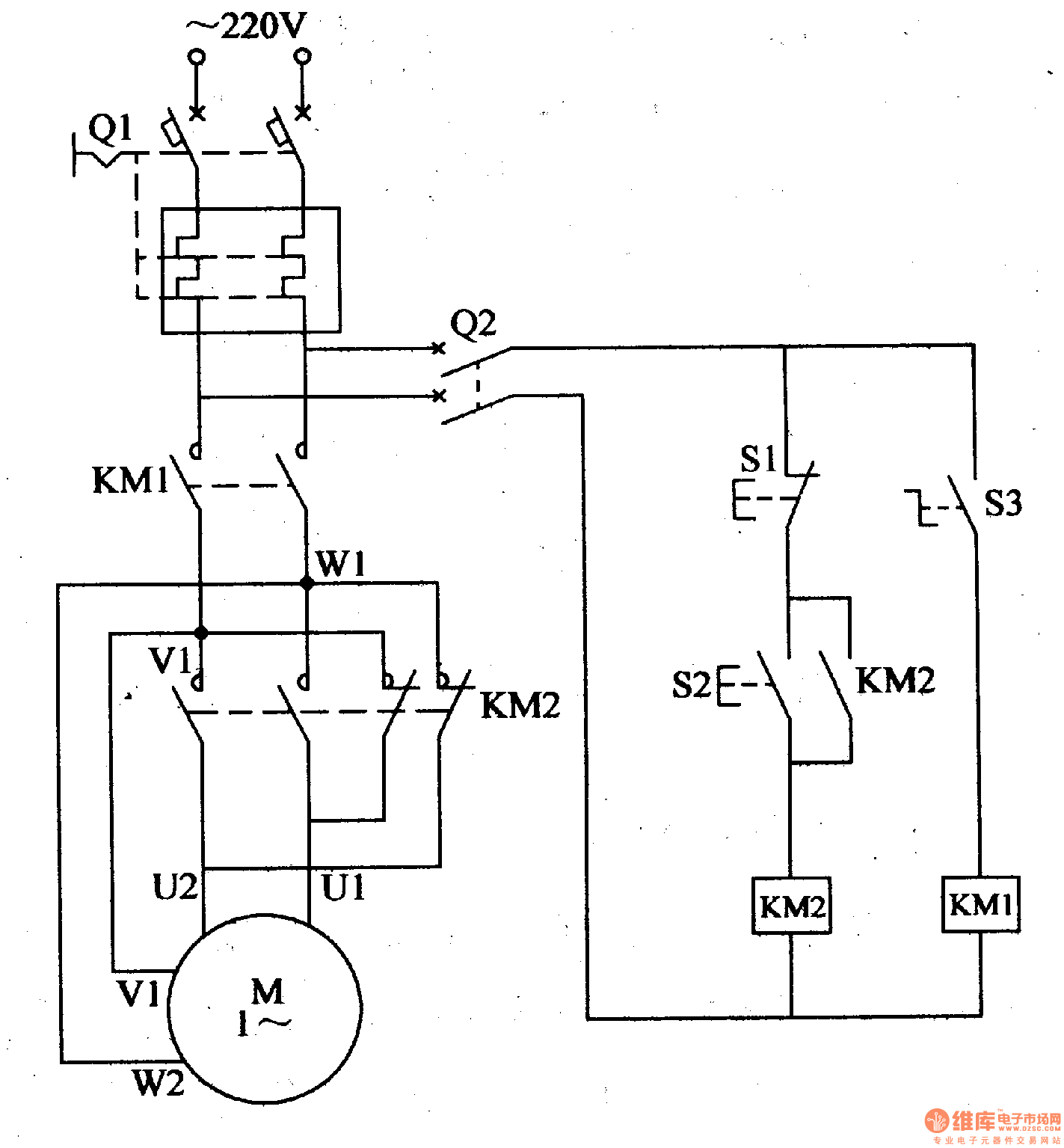
Wire Schematics 3 Phase Transformer With A Motor With A Forward And Reverse Monte Carlo 3 4 Engine Diagram For Wiring Diagram Schematics
How To Wire Forward Reverse Motor Control 3 Phase Motor Earthbondhon Youtube
Wire Schematics 3 Phase Transformer With A Motor With A Forward And Reverse Monte Carlo 3 4 Engine Diagram For Wiring Diagram Schematics
Star Delta Auto Starter With Forward Reverse And Motor Protection
Wiring Diagram Forward Reverse For 3 Phase Motor My Electrical Diary
Three Phase Motor Connection Star Delta Y D Reverse Forward With Timer Power Control Diagram Electrical Technology
Turning Round Phase Induction Motors Forward Reverse Wiring Diagram Circuit Diagram Diagram Reverse
Diagram Motor Control Circuit Diagram Forward Reverse Full Version Hd Quality Forward Reverse Yamahawiringdiagram Mcluvin Fr
Reverse Forward Motor Control Circuit Diagram For 3 Phase Hindi Urdu Youtube
Control Circuit For Forward And Reverse Motor Youtube
Diagram Single Phase Motor Reversing Diagram Bosh Full Version Hd Quality Diagram Bosh Pvdiagramsperesc Gisbertovalori It
Diagram Minn Kota Forward Reverse Wiring Diagram Full Version Hd Quality Wiring Diagram Pdfxslonea Palazzojuvalta It
Diagram 2 Sd Motor Contactor Wiring Diagram Full Version Hd Quality Wiring Diagram Tkwiring Mddiego It
Reversing Three Phase Induction Motors Electrical A2z
Motor Control Circuit Diagram Learning Wiring 1 0 Apk Androidappsapk Co
Plc Implementation Of Forward Reverse Motor Circuit With Interlocking
Wire Schematics 3 Phase Transformer With A Motor With A Forward And Reverse Monte Carlo 3 4 Engine Diagram For Wiring Diagram Schematics
Three Phase Dol Starter Control And Power Wiring Diagram Reverse Forward With Limit Switch Youtube
Three Phase Forward And Reverse Control Circuit Diagram Page 1 Line 17qq Com
Tesla Institute School Of Electrical Engineering Electronics Automation And Computer Technology 3 Phase Motor Control Left Right Forward Reverse With Timers
Forward Reverse Motor Control Diagram For 3 Phase Motor Electrical Online 4u Reverse Basic Electrical Wiring Electrical Diagram
Diagram Single Phase Forward Reverse Wiring Diagram Full Version Hd Quality Wiring Diagram Pvdiagramsperesc Gisbertovalori It
Forward Reverse Starter Diagram Engineering Portal
Diagram 3 Phase Motor Control Diagrams Full Version Hd Quality Control Diagrams Tvseriesus Lubestoresaronno It

No comments:
Post a Comment